| 可用性ステータス: | |
|---|---|
| 数量: | |
GNZ増粘剤
Toncin
一般的な
従来の一般的な増粘剤は、原料の重力沈降を利用して増粘と脱水を実現していました。これらのデバイスは運用コストが比較的低いですが、処理能力が低く、必要なスペースが大きいなどの制限があります。技術の継続的な進歩、特に凝集剤コストの削減に伴い、業界では脱水効率を高めるために凝集剤と組み合わせた最適化された装置構造が広く採用されています。
英国SUNNYグループの濃縮技術をベースに、国際的に最新の濃縮プロセスを導入し、GNZシリーズセントラルドライブ高速濃縮装置、SGNディープコーン高速濃縮装置、GNYZ高速高圧濃縮装置など、一連の新しい高効率濃縮装置の開発に成功しました。
これらの増粘剤は、中央ドライブ システムと周辺トラクション ドライブ システムの両方を構造的に統合しており、ディープコーン設計と統合された可変傾斜タンク底部を備えており、さまざまな業界のアプリケーション ニーズに柔軟に適応できます。新しい増粘剤は、運転中に「沈降濾過」相乗機構を導入し、構造設計を最適化し、凝集剤を利用して脱水を強化することにより、迅速な沈降、高い処理能力、高いアンダーフロー密度などの重要な利点を実証します。
現在、この一連の装置は、冶金、石炭、化学、鉱山尾滓処理、環境保護などの業界にわたる固液分離プロセスだけでなく、さまざまな金属および非金属鉱物の脱水に広く適用されています。
特徴
円形のタンク本体、可変傾斜または深い円錐形のタンク床の採用により、深いろ過と深い圧縮を実現でき、可変傾斜のタンク床により、高濃度アンダーフローの中心に向かう汚染除去を加速できます。濃縮効率が大幅に向上し、濃縮効率が通常の濃縮剤の3〜8倍になり、アンダーフロー濃度は40〜70%に達します2.高性能の駆動システムと運転保護システム回転機構は、低速油圧モータまたは駆動モータを介して高速遊星歯車装置によって駆動されます。また、レーキ昇降はリフティング装置によって行われ、ロータリーレーキは並列に動作する多数の油圧シリンダまたはリフティング減速機によって持ち上げられ、駆動アンロードと負荷を軽減して駆動システムを保護することができます。高性能な駆動システムにはモジュール設計が採用されており、装置のシリアル化の要件を満たすために可能な限り標準部品を使用する必要があります。
従来の駆動ユニット:A. 遊星ギアボックスは安定したトルクとスラスト負荷容量を提供します。B. メインドライブモーターシャフトの油圧センサーまたはトルクメーターの測定を通じて正確なシステムトルク監視を実現し、ドライバーレイク装置の効果的な保護を実現します。(油圧ドライブは油圧の監視を通じてレーキを上昇または下降させます。別の圧力スイッチ監視を通じて警報とモーターの転倒を開始します。油圧回路上の圧力リリースバルブの設定により、駆動装置の安全性を確保できます)設計定格トルクを絶対に超えることはできず、オーバートルクが発生することはありません。モータードライブは、モーターシャフトトルクの測定と監視を通じて、上昇または下降するための警報とレーキ、およびモータートリップを作動させます。
高速供給システムは、適切な脱気、パルプの供給速度制御、凝集剤の投与量制御などの機能を備え、供給シリンダーの合理的な構造を備えています。
構造
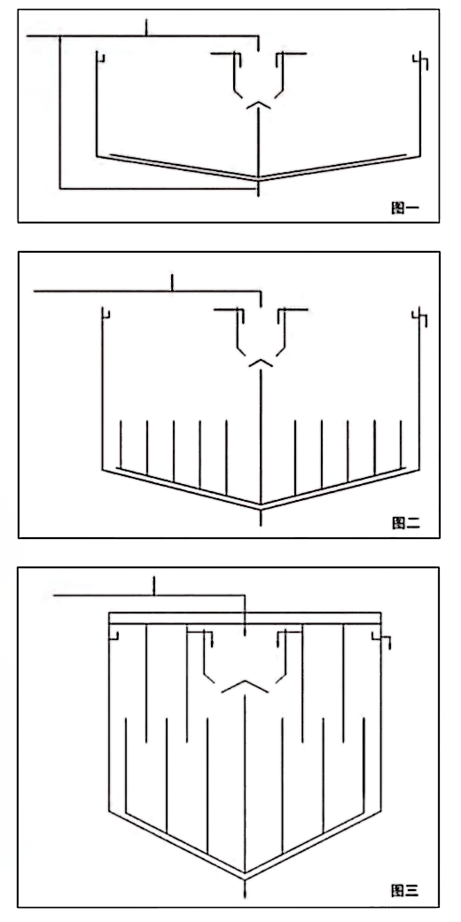
サニーハイテート増粘剤は、アンダーフロー濃度により一般高レート増粘剤、高濃度増粘剤、ディープコーンペースト増粘剤に分けられます。
1.一般的なhlレートの増粘剤、le。 GNZ セントラル駆動高速濃縮装置は、タンク底部の傾斜が 7 ~ 9 度、平坦面の高さが 3m あり、アンダーフロー濃度は通常 45 ~ 50% に達します。
2.高濃度濃縮剤であり、タンク底面の傾斜が14~20度で、一般的な高濃度濃縮剤に比べて平坦面が若干高くなっている。 GNYZ高テート高圧増粘剤などのサイドスロープ技術も採用できます。アンダーフロー濃度は通常 55 ~ 60% に達します。
3.ペースト増粘剤、1.e.SGNディープコーンハイエート増粘剤は、タンク床面の傾斜が25〜35度で、平坦面の高さが6mを超えています(タンク直径の増加に伴い高さは増加します)。その高さ-直径比は0.4〜1.2に達し、アンダーフロー濃度は通常60%以上に達します。
一般的な
従来の一般的な増粘剤は、原料の重力沈降を利用して増粘と脱水を実現していました。これらのデバイスは運用コストが比較的低いですが、処理能力が低く、必要なスペースが大きいなどの制限があります。技術の継続的な進歩、特に凝集剤コストの削減に伴い、業界では脱水効率を高めるために凝集剤と組み合わせた最適化された装置構造が広く採用されています。
英国SUNNYグループの濃縮技術をベースに、国際的に最新の濃縮プロセスを導入し、GNZシリーズセントラルドライブ高速濃縮装置、SGNディープコーン高速濃縮装置、GNYZ高速高圧濃縮装置など、一連の新しい高効率濃縮装置の開発に成功しました。
これらの増粘剤は、中央ドライブ システムと周辺トラクション ドライブ システムの両方を構造的に統合しており、ディープコーン設計と統合された可変傾斜タンク底部を備えており、さまざまな業界のアプリケーション ニーズに柔軟に適応できます。新しい増粘剤は、運転中に「沈降濾過」相乗機構を導入し、構造設計を最適化し、凝集剤を利用して脱水を強化することにより、迅速な沈降、高い処理能力、高いアンダーフロー密度などの重要な利点を実証します。
現在、この一連の装置は、冶金、石炭、化学、鉱山尾滓処理、環境保護などの業界にわたる固液分離プロセスだけでなく、さまざまな金属および非金属鉱物の脱水に広く適用されています。
特徴
円形のタンク本体、可変傾斜または深い円錐形のタンク床の採用により、深いろ過と深い圧縮を実現でき、可変傾斜のタンク床により、高濃度アンダーフローの中心に向かう汚染除去を加速できます。濃縮効率が大幅に向上し、濃縮効率が通常の濃縮剤の3〜8倍になり、アンダーフロー濃度は40〜70%に達します2.高性能の駆動システムと運転保護システム回転機構は、低速油圧モータまたは駆動モータを介して高速遊星歯車装置によって駆動されます。また、レーキ昇降はリフティング装置によって行われ、ロータリーレーキは並列に動作する多数の油圧シリンダまたはリフティング減速機によって持ち上げられ、駆動アンロードと負荷を軽減して駆動システムを保護することができます。高性能な駆動システムにはモジュール設計が採用されており、装置のシリアル化の要件を満たすために可能な限り標準部品を使用する必要があります。
従来の駆動ユニット:A. 遊星ギアボックスは安定したトルクとスラスト負荷容量を提供します。B. メインドライブモーターシャフトの油圧センサーまたはトルクメーターの測定を通じて正確なシステムトルク監視を実現し、ドライバーレイク装置の効果的な保護を実現します。(油圧ドライブは油圧の監視を通じてレーキを上昇または下降させます。別の圧力スイッチ監視を通じて警報とモーターの転倒を開始します。油圧回路上の圧力リリースバルブの設定により、駆動装置の安全性を確保できます)設計定格トルクを絶対に超えることはできず、オーバートルクが発生することはありません。モータードライブは、モーターシャフトトルクの測定と監視を通じて、上昇または下降するための警報とレーキ、およびモータートリップを作動させます。
高速供給システムは、適切な脱気、パルプの供給速度制御、凝集剤の投与量制御などの機能を備え、供給シリンダーの合理的な構造を備えています。
構造
サニーハイテート増粘剤は、アンダーフロー濃度により一般高レート増粘剤、高濃度増粘剤、ディープコーンペースト増粘剤に分けられます。
1.一般的なhlレートの増粘剤、le。 GNZ セントラル駆動高速濃縮装置は、タンク底部の傾斜が 7 ~ 9 度、平坦面の高さが 3m あり、アンダーフロー濃度は通常 45 ~ 50% に達します。
2.高濃度濃縮剤であり、タンク底面の傾斜が14~20度で、一般的な高濃度濃縮剤に比べて平坦面が若干高くなっている。 GNYZ高テート高圧増粘剤などのサイドスロープ技術も採用できます。アンダーフロー濃度は通常 55 ~ 60% に達します。
3.ペースト増粘剤、1.e.SGNディープコーンハイエート増粘剤は、タンク床面の傾斜が25〜35度で、平坦面の高さが6mを超えています(タンク直径の増加に伴い高さは増加します)。その高さ-直径比は0.4〜1.2に達し、アンダーフロー濃度は通常60%以上に達します。